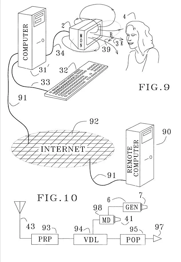
A U.S. patent from 2001, now in the public domain, claims to outline a method for using electromagnetic fields from TVs and computers to influence human physiology. The patent, titled *Nervous System Manipulation by Electromagnetic Fields from Monitors*, describes how pulsed electromagnetic fields (EMFs) from screens could stimulate the skin and interact with the body's sensory systems. These effects, according to the document, could theoretically alter nerve function or autonomic responses, such as heart rate or digestion.
The patent's core idea hinges on low-frequency EMFs, ranging from 0.1 to 15 Hertz (Hz), which could be embedded in video content or TV signals. Researchers note that older CRT monitors, which were common in the early 2000s, naturally emit these fields when displaying flickering images. Modern LED screens, however, generate weaker EMFs, making the technique less effective without modifications. A nonprofit group, PQAI, has analyzed the patent and suggested that today's technology would require enhancements to achieve similar results.

The patent's resurfacing online has fueled speculation, with some conspiracy theorists claiming it proves decades of covert mind-control experiments. Social media posts citing the patent have been viewed over 200,000 times since its recent reemergence. Critics argue these claims lack credible evidence, though the patent's creator, Hendricus G. Loos, a physicist who worked at NASA, theorized the method could be used for non-invasive physiological effects. Loos, who died in 2017, held several patents related to EMFs and nervous system interactions, dating back to the 1990s.
Public health experts emphasize that while EMFs are a well-studied phenomenon, there is no peer-reviewed research confirming the patent's alleged effects on humans. The U.S. Food and Drug Administration (FDA) and the World Health Organization (WHO) have not endorsed any medical use of EMFs for mind or body manipulation. However, the patent's expiration in 2021 means its methods are now freely available, raising concerns about potential misuse or unregulated innovation.

Congressman Tim Burchett of Tennessee recently claimed, without evidence, that mind-control techniques reminiscent of the CIA's MKUltra program are still in use today. Such assertions, while controversial, highlight ongoing public distrust in government oversight of emerging technologies. Experts caution that while the patent's technical claims remain unproven, the lack of clear regulations on EMF emissions from digital devices could create loopholes for unethical applications.
Innovation in screen technology and signal transmission continues to evolve, but the patent's resurfacing has sparked debates about data privacy and the ethical use of electromagnetic signals. As LED screens and internet-connected devices become more prevalent, the potential for subliminal or hidden signals embedded in media raises questions about consumer protection and technological transparency. Regulators and public health officials face increasing pressure to address these concerns, even as scientific consensus on the patent's practicality remains unclear.

The patent's creator, Loos, was also linked to NASA's work on cloud physics in the 1970s and 80s. His focus on EMFs for health applications, however, has never been widely adopted by the medical field. Declassified CIA documents from the 1970s revealed past attempts to explore mind-control techniques, but no credible evidence connects those programs to the patent's methods. Today, the scientific community remains skeptical, though the patent's legacy persists in online discourse and speculative theories.
As society becomes more reliant on screens and digital devices, the intersection of technology, regulation, and public safety becomes increasingly complex. While the patent's claims may be unproven, its resurgence underscores a broader need for transparency in technological innovation. Governments and industry leaders must balance the pursuit of progress with safeguards that protect individual well-being, ensuring that advancements in electromagnetism and digital media serve the public good rather than exploit it.

The patent's expiration has also sparked interest among tech entrepreneurs and researchers, some of whom see potential in exploring EMFs for therapeutic applications. However, ethical guidelines and regulatory frameworks must be established to prevent misuse. Public health officials urge caution, emphasizing that any claims of mind or body manipulation through EMFs must be rigorously tested and peer-reviewed before being accepted as credible.
In conclusion, the resurfacing of this patent has reignited debates about the role of government, science, and technology in shaping public life. While the patent itself may be a relic of the early 2000s, its implications for modern society highlight the importance of ongoing dialogue between regulators, experts, and the public. As technology evolves, so too must the policies that govern its use, ensuring that innovation serves humanity's best interests without compromising individual rights or well-being.